Compensación de potencial en los sistemas soporte de cables para las zonas Ex 2/22

El sistema de compensación de potencial se monta a sistemas de soporte de cables y permite la integración de todas las partes conductoras de la instalación y equipos eléctricos en una compensación de potencial Ex a través de placas de compensación de potencial, bornas y un conductor anular cerrado de compensación de potencial. Así se asegura una conexión continua.

Borna de compensación de potencial para las bandejas de cables y placas de compensación de potencial

Borna de compensación de potencial (PAK) para las bandejas de cables

  • Conexión sólo con el conductor de anillo equipotencial (cable de cobre estañado)
  • Fijación a la bandeja de cables con orificios laterales o a la placa de compensación de potencial (PAP 1/PAP 2)
  • La borna de compensación de potencial se monta en pasos de aprox. 0,5 m

6 Productos

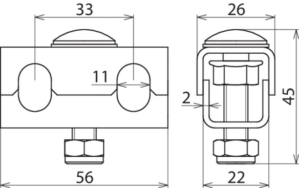
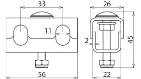
N.º art. 306200 PAK 35 M8 EX KB ER

GTIN 4013364327368, N.º de arancel aduanero (EU): 85359000, Peso bruto: 113.40 g, Empaquetado: 50.00 unidad(es)


Figuras

Más información

Borna de compensación de potencial para los sistemas de soportes de cables
Borna de compensación de potencial para tender
un conductor anular de compensación de potencial
para su fijación como borna singular a la bandeja de cables lateralmente perforada,
canaleta de cables o bandeja de cables a gran distancia
o bandeja de cables a gran distancia con perforaciones
así como para su fijación a la placa PA PAP1-EX-KB-ER
o PAP2-EX-KB-ER
Para su utilización en la zona Ex 2/22
Material: INOX
Margen de apriete del conductor anular de compensación de potencial: 35 mm², Cu/gal Sn
Material no.: 1.4301
Zona X: 2/22

Producto DEHN
Tipo: PAK 35 M8 EX KB ER
art. no.: 306200
o equivalente

Certificados

 

Datos técnicos

Material INOX
Conexión con PAP 1 EX KB ER resp. PAP 2 EX KB ER o bandeja de cables resp. bandeja de cables a gran distancia
Margen de apriete del conductor anular de compensación de potencial 35 mm², Cu /gal Sn
Tornillo M8 x 40 mm
Material del tornillo/de la tuerca INOX
Material no. 1.4301
Zona X 2/22
Corriente de cortocircuito AC (50 Hz / 5 s) 1,5 kA
Corriente de cortocircuito DC (5 s) 250 A

Se ha añadido el artículo 306200 a favoritos.

El artículo 306200 ha sido añadido a la cesta de compra.

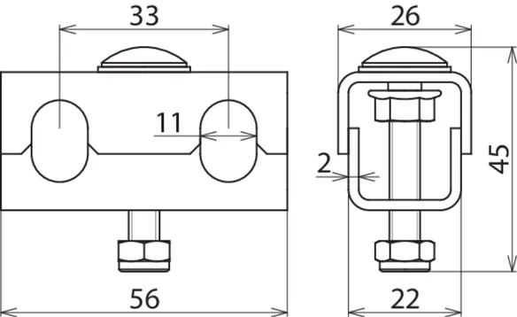
N.º art. 306201 PAK 50 M8 EX KB ER

GTIN 4013364327375, N.º de arancel aduanero (EU): 85359000, Peso bruto: 128.80 g, Empaquetado: 50.00 unidad(es)


Figuras

Más información

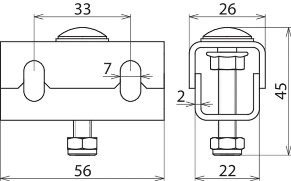
Borna de compensación de potencial para los sistemas soporte de cables
Borna de compensación de potencial para colocar un
conductor anular de compensación de potencial para su fijación
como borna singular a la bandeja de cables con huecos laterales,
ranura de cables o bandeja de cables a gran distancia con perforaciones
así como para su fijación a la plancha de compensación de potencial
PAP1-EX-KB-ER o PAP2-EX-KB-ER
Para su utilización en la zona Ex 2/22
Material: INOX
Margen de apriete del conductor anular de compensación de potencial: 50 mm², Cu/gal Sn
Material no.: 1.4301
Zona X: 2/22

Producto DEHN
Tipo: PAK 50 M8 EX KB ER
art. no.: 306201
o equivalente

Certificados

 

Datos técnicos

Material INOX
Conexión con PAP 1 EX KB ER resp. PAP 2 EX KB ER o bandeja de cables resp. bandeja de cables a gran distancia
Margen de apriete del conductor anular de compensación de potencial 50 mm², Cu /gal Sn
Tornillo M8 x 40 mm
Material del tornillo/de la tuerca INOX
Material no. 1.4301
Zona X 2/22

Se ha añadido el artículo 306201 a favoritos.

El artículo 306201 ha sido añadido a la cesta de compra.

N.º art. 306202 PAK 70 M8 EX KB ER

GTIN 4013364327351, N.º de arancel aduanero (EU): 85359000, Peso bruto: 110.00 g, Empaquetado: 50.00 unidad(es)


Figuras

Más información

Borna de compensación de potencial para los sistemas soporte de cables
Borna de compensación de potencial para colocar un
conductor anular equipotencial para su fijación
como borna singular a la bandeja de cables con huecos laterales,
ranura de cables o bandeja de cables a gran distancia con perforaciones
así como para su fijación a la placa de compensación de potencial
PAP1-EX-KB-ER o PAP2-EX-KB-ER
Para su utilización en la zona Ex 2/22
Material: INOX
Margen de apriete del conductor anular de compensación de potencial: 70 mm², Cu/gal Sn
Material no.: 1.4301
Zona X: 2/22

Producto DEHN
Tipo: PAK 70 M8 EX KB ER
art. no.: 306202
o equivalente

Certificados

 

Datos técnicos

Material INOX
Conexión con PAP 1 EX KB ER resp. PAP 2 EX KB ER o bandeja de cables resp. bandeja de cables a gran distancia
Margen de apriete del conductor anular de compensación de potencial 70 mm², Cu /gal Sn
Tornillo M8 x 40 mm
Material del tornillo/de la tuerca INOX
Material no. 1.4301
Zona X 2/22
Corriente de cortocircuito AC (50 Hz / 5 s) 1,5 kA
Corriente de cortocircuito DC (5 s) 250 A

Se ha añadido el artículo 306202 a favoritos.

El artículo 306202 ha sido añadido a la cesta de compra.

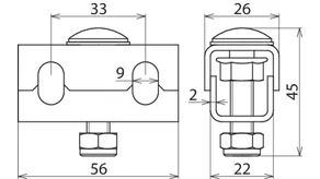
N.º art. 306204 PAK 35 M6 EX KB ER

GTIN 4013364336766, N.º de arancel aduanero (EU): 85359000, Peso bruto: 98.20 g, Empaquetado: 50.00 unidad(es)


Figuras

Más información

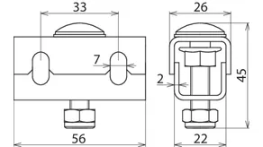
Borna de compensación de potencial para los sistemas soporte de cables
Borna de compensación de potencial para colocar un
conductor anular de compensación de potencial para su fijación
como borna singular a la bandeja de cables con huecos laterales,
ranura de cables o bandeja de cables a gran distancia con perforaciones
así como para su fijación a la placa de compensación de potencial
PAP1-EX-KB-ER o PAP2-EX-KB-ER
Para su utilización en la zona Ex 2/22
Material: INOX
Margen de apriete del conductor anular de compensación de potencial: 35 mm², Cu/gal Sn
Material no.: 1.4301
Zona X: 2/22

Producto DEHN
Tipo: PAK 35 M6 EX KB ER
art. no.: 306204
o equivalente

Certificados

 

Datos técnicos

Material INOX
Conexión con PAP 1 EX KB ER resp. PAP 2 EX KB ER o bandeja de cables resp. bandeja de cables a gran distancia
Margen de apriete del conductor anular de compensación de potencial 35 mm², Cu /gal Sn
Tornillo M6 x 35 mm
Material del tornillo/de la tuerca INOX
Material no. 1.4301
Zona X 2/22

Se ha añadido el artículo 306204 a favoritos.

El artículo 306204 ha sido añadido a la cesta de compra.

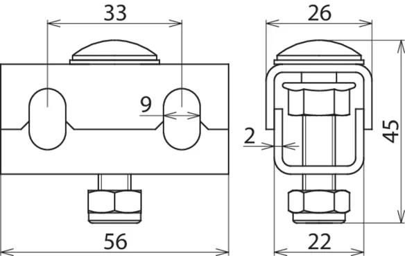
N.º art. 306205 PAK 50 M6 EX KB ER

GTIN 4013364336773, N.º de arancel aduanero (EU): 85359000, Peso bruto: 95.60 g, Empaquetado: 50.00 unidad(es)


Figuras

Más información

Borna de compensación de potencial para los sistemas soporte de cables
Borna de compensación de potencial para colocar un
conductor anular de compensación de potencial para su fijación
como borna singular a la bandeja de cables con huecos laterales,
ranura de cables o bandeja de cables a gran distancia con perforaciones
así como para su fijación a la placa de compensación de potencial
PAP1-EX-KB-ER o PAP2-EX-KB-ER
Para su utilización en la zona Ex 2/22
Material: INOX
Margen de apriete del conductor anular de compensación de potencial: 50 mm², Cu/gal Sn
Material no.: 1.4301
Zona X: 2/22

Producto DEHN
Tipo: PAK 50 M6 EX KB ER
art. no.: 306205
o equivalente

Certificados

 

Datos técnicos

Material INOX
Conexión con PAP 1 EX KB ER resp. PAP 2 EX KB ER o bandeja de cables resp. bandeja de cables a gran distancia
Margen de apriete del conductor anular de compensación de potencial 50 mm², Cu /gal Sn
Tornillo M6 x 35 mm
Material del tornillo/de la tuerca INOX
Material no. 1.4301
Zona X 2/22

Se ha añadido el artículo 306205 a favoritos.

El artículo 306205 ha sido añadido a la cesta de compra.

N.º art. 306206 PAK 70 M6 EX KB ER

GTIN 4013364336780, N.º de arancel aduanero (EU): 85359000, Peso bruto: 94.20 g, Empaquetado: 50.00 unidad(es)


Figuras

Más información

Borna de compensación de potencial para los sistemas soporte de cables
Borna de compensación de potencial para colocar un
conductor anular de compensación de potencial para su fijación
como borna singular a la bandeja de cables con huecos laterales,
ranura de cables o bandeja de cables a gran distancia con perforaciones
así como para su fijación a la placa de compensación de potencial
PAP1-EX-KB-ER o PAP2-EX-KB-ER
Para su utilización en la zona Ex 2/22
Material: INOX
Margen de apriete del conductor anular de compensación de potencial: 70 mm², Cu/gal Sn
Material no.: 1.4301
Zona X: 2/22

Producto DEHN
Tipo: PAK 70 M6 EX KB ER
art. no.: 306206
o equivalente

Certificados

 

Datos técnicos

Material INOX
Conexión con PAP 1 EX KB ER resp. PAP 2 EX KB ER o bandeja de cables resp. bandeja de cables a gran distancia
Margen de apriete del conductor anular de compensación de potencial 70 mm², Cu /gal Sn
Tornillo M6 x 35 mm
Material del tornillo/de la tuerca INOX
Material no. 1.4301
Zona X 2/22

Se ha añadido el artículo 306206 a favoritos.

El artículo 306206 ha sido añadido a la cesta de compra.


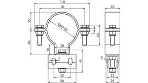
Borna de compensación de potencial para las bandejas enrejadas

Borna de compensación de potencial (PAK) para las bandejas de cables

  • Conexión sólo con el conductor anular de compensación de potencial de 35 mm2, Art.-No. 832 838 (cable de cobre estañado)
  • Fijación a la bandeja de cables con huecos laterales o a la placa de compensación de potencial (PAP 1/PAP 2)
  • La borna de compensación de potencial se monta en pasos de aprox. 0,5 m

1 Producto

N.º art. 306203 PAK 35 M8 EX GI ER

GTIN 4013364327382, N.º de arancel aduanero (EU): 85359000, Peso bruto: 128.80 g, Empaquetado: 50.00 unidad(es)


Figuras

Más información

Borna de compensación de potencial para los sistemas soporte de cables
Borna de compensación de potencial para colocar
un conductor anular de compensación de potencial
para su fijación como borna singular al lado de la bandeja enrejada
así como para su fijación a la placa de compensación de potencial
PAP1-EX-GI-ER o PAP2-EX-GI-ER
Para su utilización en la zona Ex 2/22
Material: INOX
Margen de apriete del conductor anular de compensación de potencial: 35 mm², Cu/gal Sn
Material no.: 1.4301
Zona X: 2/22

Producto DEHN
Tipo: PAK 35 M8 EX GI ER
art. no.: 306203
o equivalente

Certificados

 

Datos técnicos

Material INOX
Conexión con PAP 1 EX GI ER resp. PAP 2 EX GI ER o bandeja enrejada
Margen de apriete del conductor anular de compensación de potencial 35 mm², Cu/gal Sn
Tornillo M8 x 40 mm
Material del tornillo/de la tuerca INOX
Material no. 1.4301
Zona X 2/22
Corriente de cortocircuito AC (50 Hz / 5 s) 1,5 kA
Corriente de cortocircuito DC (5 s) 250 A

Se ha añadido el artículo 306203 a favoritos.

El artículo 306203 ha sido añadido a la cesta de compra.


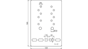
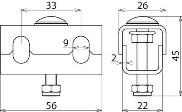
Placa de compensación de potencial para las bandejas de cables

Placa de compensación de potencial (PAP) para bandeja de cables

  • Soporte para borna PA (PAK) para el conductor de compensación de potencial en anillos de tierra (cable de cobre estañado)
  • Fijación a la bandeja de cables con huecos laterales

2 Productos

N.º art. 306210 PAP 1 EX KB ER

GTIN 4013364327399, N.º de arancel aduanero (EU): 85359000, Peso bruto: 374.00 g, Empaquetado: 15.00 unidad(es)


Figuras

Más información

Placa de compensación de potencial para los sistemas soporte de cables
Placa de compensación de potencial para la conexión
a la bandeja de cables con huecos laterales, la ranura de cables
o la bandeja de cables a gran distancia perforada
para soportar la borna de compensación de potencial para las bandejas de cables
Para su utilización en la zona Ex 2/22
Material: INOX
Taladros de conexión para conductores de compensación de potencial con terminal de cable: 3x Ø11 mm, 3x Ø9 mm, descarga de la tracción 3x borna de cable M6
Zona X: 2/22

Producto DEHN
Tipo: PAP 1 EX KB ER
art. no.: 306210
o equivalente

Certificados

 

Datos técnicos

Material INOX
Dimensiones 120 x 180 mm
Taladros de conexión para conductores de compensación de potencial con terminal de cable 3x Ø11 mm, 3x Ø9 mm, descarga de la tracción 3x borna de cable M6
Conexiones para bornas de compensación de potencial PAK ... EX KB ER
Taladros de fijación para la bandeja de cable [4x] 9 x 20 / [1x] 9 x 9 mm
Zona X 2/22
Corriente de cortocircuito AC (50 Hz / 5 s) 1,5 kA
Corriente de cortocircuito DC (5 s) 250 A

Se ha añadido el artículo 306210 a favoritos.

El artículo 306210 ha sido añadido a la cesta de compra.

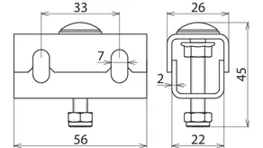
N.º art. 306211 PAP 2 EX KB ER

GTIN 4013364327405, N.º de arancel aduanero (EU): 85359000, Peso bruto: 401.00 g, Empaquetado: 15.00 unidad(es)


Figuras

Más información

Placa de compensación de potencial para los sistemas soporte de cables
Placa de compensación de potencial para la conexión
a la bandeja de cables con huecos laterales, la ranura de cables
o la bandeja de cables a gran distancia perforada
para soportar la borna de compensación de potencial para bandejas de cables
Para su utilización en la zona Ex 2/22
Material: INOX
Taladros de conexión para conductores de compensación de potencial con terminal de cable: 2x Ø11 mm, 12x Ø7 mm
Zona X: 2/22

Producto DEHN
Tipo: PAP 2 EX KB ER
art. no.: 306211
o equivalente

Certificados

 

Datos técnicos

Material INOX
Dimensiones 120 x 195 mm
Taladros de conexión para conductores de compensación de potencial con terminal de cable 2x Ø11 mm, 12x Ø7 mm
Conexiones para bornas de compensación de potencial PAK ... EX KB ER
Taladros de fijación para la bandeja de cable [4x] 9 x 20 / [1x] 9 x 9 mm
Zona X 2/22
Corriente de cortocircuito AC (50 Hz / 5 s) 1,5 kA
Corriente de cortocircuito DC (5 s) 250 A

Se ha añadido el artículo 306211 a favoritos.

El artículo 306211 ha sido añadido a la cesta de compra.


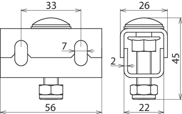
Placa de compensación de potencial para las bandejas enrejadas

Placa de compensación de potencial (PAP) para bandeja enrejada

  • Soporte para borna PA (PAK) para el conductor de compensación de potencial en anillos de tierra (cable de cobre estañado)
  • Fijación a la bandeja enrejada

2 Productos

N.º art. 306212 PAP 1 EX GI ER

GTIN 4013364327412, N.º de arancel aduanero (EU): 85359000, Peso bruto: 384.00 g, Empaquetado: 15.00 unidad(es)


Figuras

Más información

Placa de compensación de potencial para los sistemas soporte de cables
Placa de compensación de potencial para la conexión
a bandejas enrejadas y para soportar
la borna de compensación de potencial para las bandejas enrejadas
Para su utilización en la zona 2/22
Material: INOX
Taladros de conexión para conductores de compensación de potencial con terminal de cable: 3x Ø11 mm, 3x Ø9 mm, tracción compensada 3x abrazadera para cables M6
Zona X: 2/22

Producto DEHN
Tipo: PAP 1 EX GI ER
art. no.: 306212
o equivalente

Certificados

 

Datos técnicos

Material INOX
Dimensiones 120 x 180 mm
Taladros de conexión para conductores de compensación de potencial con terminal de cable 3x Ø11 mm, 3x Ø9 mm, tracción compensada 3x abrazadera para cables M6
Conexiones para bornas de compensación de potencial PAK ... EX KB ER
Taladros de fijación para la bandeja enrejada bandeja enrejada [4x] 9 x 20 / [1x] 9 x 9 mm
Zona X 2/22
Corriente de cortocircuito AC (50 Hz / 5 s) 1,5 kA
Corriente de cortocircuito DC (5 s) 250 A

Se ha añadido el artículo 306212 a favoritos.

El artículo 306212 ha sido añadido a la cesta de compra.

N.º art. 306213 PAP 2 EX GI ER

GTIN 4013364327429, N.º de arancel aduanero (EU): 85359000, Peso bruto: 391.50 g, Empaquetado: 15.00 unidad(es)


Figuras

Más información

Placa de compensación de potencial para los sistemas soporte de cables
Placa de compensación de potencial para la conexión
a bandejas enrejadas y para soportar
la borna de compensación de potencial para las bandejas enrejadas
Para su utilización en la zona 2/22
Material: INOX
Taladros de conexión para conductores de compensación de potencial con terminal de cable: 2x Ø11 mm, 12x Ø7 mm
Zona X: 2/22

Producto DEHN
Tipo: PAP 2 EX GI ER
art. no.: 306213
o equivalente

Certificados

 

Datos técnicos

Material INOX
Dimensiones 120 x 195 mm
Taladros de conexión para conductores de compensación de potencial con terminal de cable 2x Ø11 mm, 12x Ø7 mm
Conexiones para bornas de compensación de potencial PAK ... EX KB ER
Taladros de fijación para la bandeja enrejada [4x] 9 x 20 / [1x] 9 x 9 mm
Zona X 2/22
Corriente de cortocircuito AC (50 Hz / 5 s) 1,5 kA
Corriente de cortocircuito DC (5 s) 250 A

Se ha añadido el artículo 306213 a favoritos.

El artículo 306213 ha sido añadido a la cesta de compra.


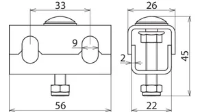
Abrazaderas de compensación de potencial

Abrazadera de compensación de potencial (SBD 60 PAK 35)

  • Conexión solo con el conductor de compensación de potencial en anillos de tierra de 35 mm2, ref. 832 838 (Cable de cobre estañado)
  • Fijación a tubos redondos DN50 (60 mm)
  • La borna PA se monta en pasos de aprox. 0,5 m

1 Producto

N.º art. 306220 SBD 60 PAK 35 EX ER

GTIN 4013364327436, N.º de arancel aduanero (EU): 85359000, Peso bruto: 408.00 g, Empaquetado: 50.00 unidad(es)


Figuras

Más información

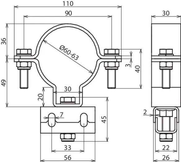
Abrazadera de compensación de potencial para los sistemas soporte de cables
Abrazadera de compensación de potencial
Incl. borna para colocar un conductor anular de compensación de potencial
a tubos redondos DN50
Para su utilización en la zona Ex 2/22
Material: INOX
Margen de apriete del conductor anular de compensación de potencial: 35 mm², Cu/gal Sn
Zona X: 2/22

Producto DEHN
Tipo: SBD 60 PAK 35 EX ER
art. no.: 306220
o equivalente

Certificados

 

Datos técnicos

Material INOX
Dimensiones Ø60 mm
Margen de apriete del conductor anular de compensación de potencial 35 mm², Cu /gal Sn
Zona X 2/22

Se ha añadido el artículo 306220 a favoritos.

El artículo 306220 ha sido añadido a la cesta de compra.


Sujetacables

Sujetacable para su utilización como descarga de la tracción al tender el cable de cobre hasta la placa de compensación de potencial PAP1 EX KB ER o PAP1 EX GI ER.

2 Productos

N.º art. 306230 MPE S 35 ER

GTIN 4013364327443, N.º de arancel aduanero (EU): 85359000, Peso bruto: 10.60 g, Empaquetado: 10.00 unidad(es)


Figuras

Más información

Sujetacables para los sistemas soporte de cables
Sujetacables para compensar la tracción
colocando cables de cobre a la placa
de compensación de potencial
PAP1-EX-KB-ER o PAP1-EX-GI-ER

Material: INOX
Margen de apriete del cable de cobre: 35 mm²
Zona X: 2/22

Producto DEHN
Tipo: MPE S 35 ER
art. no.: 306230
o equivalente

Certificados

 

Datos técnicos

Material INOX
Conexión con PAP1 EX KB ER resp. PAP1 EX GI ER
Margen de apriete del cable de cobre 35 mm²
Zona X 2/22

Se ha añadido el artículo 306230 a favoritos.

El artículo 306230 ha sido añadido a la cesta de compra.

N.º art. 306231 MPE S 50/70 ER

GTIN 4013364327450, N.º de arancel aduanero (EU): 85359000, Peso bruto: 12.40 g, Empaquetado: 10.00 unidad(es)


Figuras

Más información

Sujetacables para los sistemas soporte de cables
Sujetacables para compensar la tracción
colocando cables de cobre a la placa
de compensación de potencial
PAP1-EX-KB-ER or resp. PAP1-EX-GI-ER
Material: INOX
Margen de apriete del cable de cobre: 50 resp. 70 mm²
Zona X: 2/22

Producto DEHN
Tipo: MPE S 50/70 ER
art. no.: 306231
o equivalente

Certificados

 

Datos técnicos

Material INOX
Conexión con PAP1 EX KB ER resp. PAP1 EX GI ER
Margen de apriete del cable de cobre 50 resp. 70 mm²
Zona X 2/22

Se ha añadido el artículo 306231 a favoritos.

El artículo 306231 ha sido añadido a la cesta de compra.


Tuerca de seguridad

Tuerca de seguridad para sujetacables (MPE S 35 ER y MPE S 50/70 ER).

1 Producto

N.º art. 306240 SM SS M6 ER

GTIN 4013364327467, N.º de arancel aduanero (EU): 85359000, Peso bruto: 2.25 g, Empaquetado: 20.00 unidad(es)


Figuras

Más información

Tornillo M6 INOX
Seguro de tornillos M6 para su utilización
contra desenganche o aflojamiento
por vibraciones (autofijador)
para sujetacables MPE S 35 ER o resp. MPE S 50/70 ER
Material: INOX
Zona X: 2/22

Producto DEHN
Tipo: SM SS M6 ER
art. no.: 306240
o equivalente

Certificados

 

Datos técnicos

Material INOX
Versión M6
Zona X 2/22

Se ha añadido el artículo 306240 a favoritos.

El artículo 306240 ha sido añadido a la cesta de compra.


Tuerca hexagonal

Tuerca para sujetacables (MPE S 35 ER y MPE S 50/70 ER).

1 Producto

N.º art. 505901 SKM M6 DIN 934 V2A

GTIN 4013364019355, N.º de arancel aduanero (EU): 73181639, Peso bruto: 2.10 g, Empaquetado: 20.00 unidad(es)


Figuras

Más información

Tornillo M6 INOX
Seguro de tornillos M6 para su utilización
contra desenganche o aflojamiento
por vibraciones (autofijador)
para sujetacables MPE S 35 ER o resp. MPE S 50/70 ER
Material: INOX

Producto DEHN
Tipo: SKM M6 DIN 934 V2A
art. no.: 505901
o equivalente

Certificados

 

Datos técnicos

Material INOX
Versión M6

Se ha añadido el artículo 505901 a favoritos.

El artículo 505901 ha sido añadido a la cesta de compra.


Arandela abierta

Arandela abierta para sujetacables (MPE S 35 ER y MPE S 50/70 ER).

1 Producto

N.º art. 524906 FR A6 V2A

GTIN 4013364004009, N.º de arancel aduanero (EU): 73182100, Peso bruto: 1.00 g, Empaquetado: 20.00 unidad(es)


Figuras

Más información

Tornillo M6 INOX
Seguro de tornillos M6 para su utilización
contra desenganche o aflojamiento
por vibraciones (autofijador)
para sujetacables MPE S 35 ER o resp. MPE S 50/70 ER
Material: INOX

Producto DEHN
Tipo: FR A6 V2A
art. no.: 524906
o equivalente

Certificados

 

Datos técnicos

Material INOX
Versión A6

Se ha añadido el artículo 524906 a favoritos.

El artículo 524906 ha sido añadido a la cesta de compra.


back to top